craiglistignition car diagram

Patent US8290666 - Method and system for controlling a vehicle engine. 17 Images about Patent US8290666 - Method and system for controlling a vehicle engine : Simple Car Diagram - Wiring Forums, Q) How much does it cost to make my products? and also Patent US8290666 - Method and system for controlling a vehicle engine.

Patent US8290666 - Method And System For Controlling A Vehicle Engine

Patent US8290666 - Method and system for controlling a vehicle engine www.google.com

patents

Infographic: Guide To Diagnosing Common Starting Problems (With Images

Infographic: Guide to Diagnosing Common Starting Problems (With images www.pinterest.com.au

repair starting onallcylinders truck engine start chart flow vehicle guide automotive diagnosing infographic problems common frustrating diagnostic mechanic incredibly issues

Patent US20090037058 - System And Method For Controlling A Vehicle With

Patent US20090037058 - System and method for controlling a vehicle with www.google.com.au

patents

Formula 1 Car Diagram | My Wiring DIagram

Formula 1 Car Diagram | My Wiring DIagram detoxicrecenze.com

formula diagram location

Simple Car Diagram - Wiring Forums

Simple Car Diagram - Wiring Forums wiringforums.com

ford cylinder wiring f250 firing undercarriage linkage carburetion straight cougar carburetor f100 bird schematics

Underside Of A Car Diagram | My Wiring DIagram

Underside Of A Car Diagram | My Wiring DIagram detoxicrecenze.com

diagram body parts underside name mercedes tt names wiring cars manuals slk exterior electrical 6v charming elegant toys sports

Q) How Much Does It Cost To Make My Products?

Q) How much does it cost to make my products? qureshiuniversity.com

GitHub - Evan-wu/mycar: Your First Self Driving Car Project.

GitHub - evan-wu/mycar: Your first self driving car project. github.com

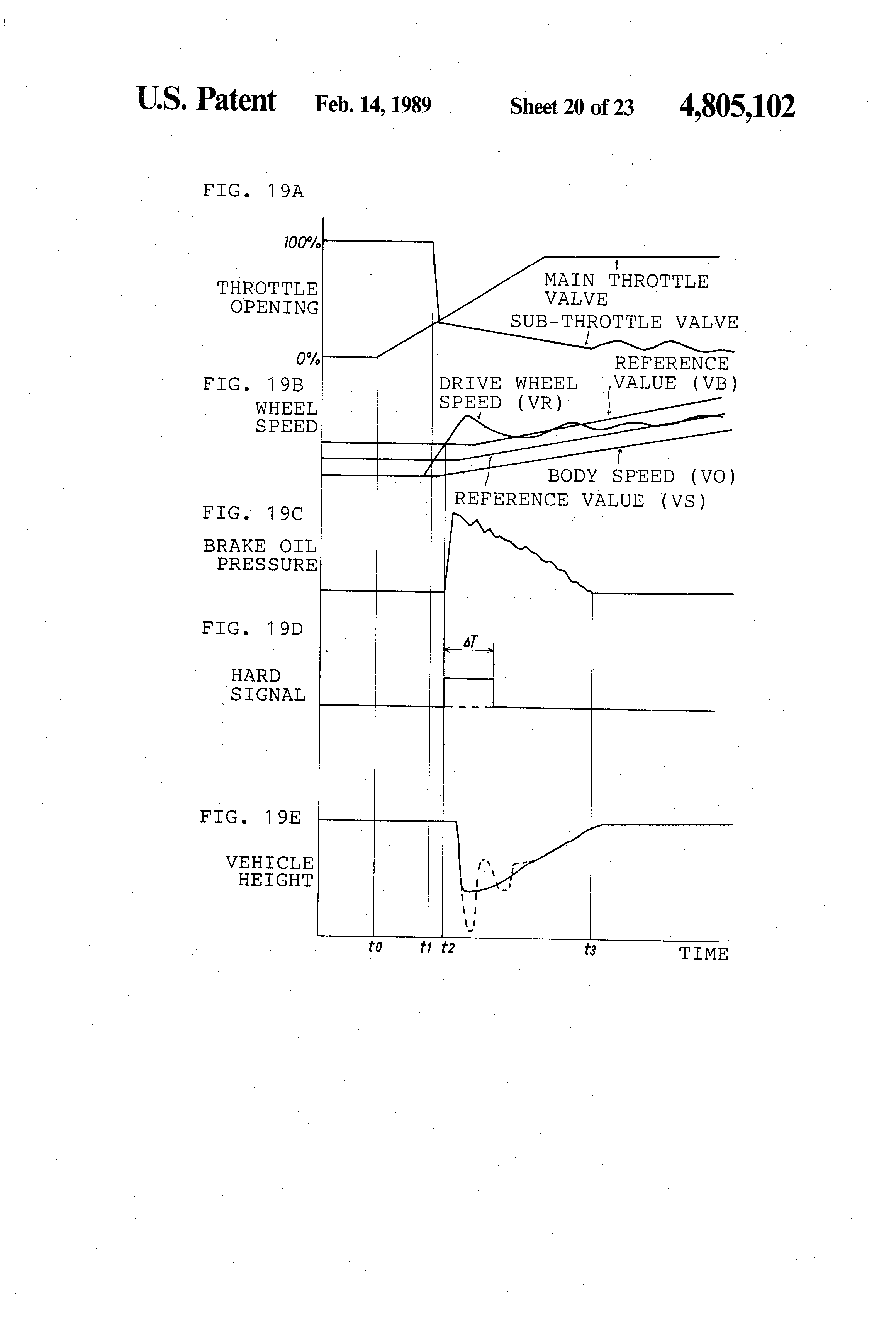
Patent US4805102 - Method For Controlling A Vehicle Attitude - Google

Patent US4805102 - Method for controlling a vehicle attitude - Google www.google.ca

patents

ENG 001: Language And Writing: Car Diagram

ENG 001: Language and Writing: Car Diagram adammosel.blogspot.com

diagram writing eng language

Patent US20090037058 - System And Method For Controlling A Vehicle With

Patent US20090037058 - System and method for controlling a vehicle with www.google.de

patentsuche ansprüche vehicle

Google's Self-Driving Car Diagram On Behance

Google's Self-Driving Car Diagram on Behance www.behance.net

diagram driving self google behance project

Self-Driving Cars And Engineering Ethics: The Need For A System Level

Self-Driving Cars and Engineering Ethics: The Need for a System Level link.springer.com

fig cars ethics driving engineering analysis self level system need

Automotive Synopsis, Auto Binary Electrical & Electronic Diagnostics

Automotive Synopsis, Auto Binary Electrical & Electronic Diagnostics www.autobinary.co.za

automotive diagnostics areas electronics pcb output growth diagram requiring sophisticated analysis

Simple Car Diagram - Wiring Forums

Simple Car Diagram - Wiring Forums wiringforums.com

simple diagram wiring diagrams

Wiring Diagram Honda Wave Series Electrical Wires & Cable, PNG

Wiring Diagram Honda Wave Series Electrical Wires & Cable, PNG favpng.com

Car Diagram - Vehicle Diagram - Auto Chart - Automobile Illustration

Car Diagram - Vehicle Diagram - Auto Chart - Automobile Illustration ygraph.com

diagram chart parts vehicle automobile hood under engine components steering labels suspension transmission graph 2165 illustration

Formula 1 car diagram. Patent us20090037058. Simple diagram wiring diagrams